营口山鹰JKM-3控制模块使用说明书
- 安全检查:无病毒 无插件
- 文件类型:压缩文件
- 文件大小:32K
- 推荐星级:0 星级
- 更新日期:2009-10-16 14:21
- 浏览次数:1291
- 下载次数:610
|
|
 |
 |
详细介绍
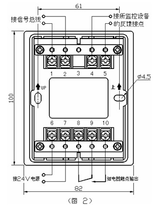
JKM-3控制模块(以下简称模块)挂接在总线上,与火灾探测器统一编址,它接收主机(火灾报警控制器)的指令,向外部输出单刀双掷的触点信号,用来控制消防设备的启动与停止,同时将消防设备当前状态反馈给主机(火灾报警控制器),作为消防系统的输出器件,它需要与我公司生产的火灾报警控制器配套使用。
[
下载搜索 ]
[
加入收藏 ]
[
告诉好友 ]
[
打印本文 ]
[
关闭窗口 ]
下载地址
【免费注册并赠送下载积分,支付积分后,请点击“主站下载”;】
【“弱电之家网”成立10周年,注册会员30万人,国内最优秀的弱电网站.支付宝淘宝合作商家】
1、为了网站继续生存下去,只能适当收取些费用,论坛发贴可赚取积分下载,也可“支付宝在线充值”兑换积分;
2、VIP会员包年下载
50元/1年(服务期内不限量下载+信息发布+产品推荐);
立即充值
3、VIP会员包年下载
90元/2年(服务期内不限量下载+信息发布+产品推荐);
立即充值
4、点击查看详细:
VIP会员注册流程及付款 客服QQ:

(点击交谈)